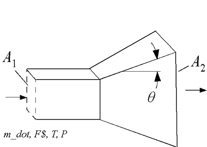
DuctGradExpRectFree_CL

Returns the pressure drop associated with a gradual expansion with no discharge duct length given the fluid, its flow rate and state, the upstream and downstream areas, and the half angle. Valid for rectangular duct cross-sections. This function calls the K_grad_exp_rect_free function from the minor loss library.
DELTAP = DuctGradExpRectFree_CL(F$, m_dot, T, P, A_2, A_1, theta)
Inputs:
F$: fluid string identifier
m_dot: mass flow rate (kg/s, lbm/hr)
T: inlet temperature (K, C, F, or R)
P: inlet pressure (bar, atm, Pa, kPa, or MPa)
A_2: downstream duct area (m^2 or ft^2)
A_1: upstream duct area (m^2 or ft^2)
theta: half angle (radian or degree)
Output:
DELTAP: pressure drop (bar, atm, Pa kPa, or MPa)
Example:
$UnitSystem SI Mass J K Pa Degree
$Load Component Library
$VarInfo DP units=Pa
m_dot = 0.25 [kg/s]
T = 300 [K]
P = 100e3 [Pa]
A_1 = 0.05 [m^2]
A_2 = 0.2 [m^2]
theta=15 [degree]
F$ = 'Air'
DP = DuctGradExpRectFree_CL(F$, m_dot, T, P, A_2, A_1, theta)
{Solution:
DP = 6.921 [Pa]}